lunes, 12 de octubre de 2015

Experiencias LEAN en mis favoritos de Twitter


Estimad@s Clientes y/o amantes del LEAN::

Como sabes, la Red da enormes posibilidades de compartir experiencias de tod@s los amantes del LEAN  que hay a lo largo y ancho de este mundo
Sin ser un especialista en estas cosas, veo que LinkedIn es bueno para saber por dónde andan todos los conocidos y poco más.
La verdad es que después de más de más de 37 años de actividad profesional ( desde el año 1978 ), es, como mínimo interesante, tener noticias de las idas y vueltas de tod@s los profesionales que he tenido el privilegio de conocer a lo largo de todo este tiempo. Mi perfil de LinkedIn es el siguiente :


De todas formas, la mejor manera que he encontrado de compartir experiencias LEAN es a través de Twitter, en el apartado “favoritos” del perfil personal; en el mío, podéis encontrar una cantidad enorme de presentaciones de PowerPoint, videoclips, enlaces a páginas de expertos LEAN, etc. Mi perfil de Twitter es el siguiente:


De todas formas, para los más perezosos con esto de las nuevas tecnologías, no os preocupéis, seguiré mandando mis humildes reflexiones a través del canal tradicional


Que disfrutéis cada hora del fin de semana
Un cordial saludo

Alvaro Ballesteros   

domingo, 11 de octubre de 2015

Despliegue por objetivos tradicional vs HOSHIN KANRI LEAN


Estimad@s Clientes y/o amantes del LEAN:

Dentro de unos días casi todas las Organizaciones ( exceptuando las de tradición alemana, que a estas alturas de Octubre ya lo tienen casi hecho ) entran en sus dinámicas de elaboración de Presupuestos, Planes Estratégicos y Despliegue por Objetivos para el año próximo

Querría dedicar este escrito a una herramienta LEAN no muy conocida, el HOSHIN KANRI, que cubre de una manera brillante los inconvenientes que tiene el método tradicional de desarrollo de Gestión por Objetivos para toda la Organización

1. Bases del Modelo HOSHIN KANRI - LEAN

       Es un Modelo de Gestión por Objetivos basado en los principios LEAN

       En vez del despliegue clásico de objetivos aguas abajo, persigue identificar procesos subyacentes a esos objetivos; el HOSHIN KANRI se basa en que una adecuada gestión y optimización de esos procesos identificados se traducirá en una mejora significativa de los objetivos planteados
      Es fácil ponerse de acuerdo en los objetivos ( lograr los mejores ingresos, los mínimos costes, la mejor calidad, los mejores plazos de entrega ), pero no es tan fácil ponerse de acuerdo sobre los procesos necesarios para conseguirlos

       En consecuencia, el HOSHIN KANRI propone aplicar la siguiente metodología:
      Pasar de la dimensión Objetivos ( planteados por la Dirección, según el Plan de Gestión ) a una dimensión Procesos
      Trabajar/optimizar los procesos identificados
      Para cada proceso identificado, trabajar con un Equipo Multidisciplinar, que visualice/optimice el proceso completo
      Una vez rediseñado el proceso identificado, volver a la dimensión “Objetivos” y ver sus implicaciones en la mejora de los objetivos marcados por la Dirección

       La optimización de esos procesos se hará con herramientas LEAN ( nacidas para optimizar los procesos de fabricación) , pero que tienen validez absoluta para otro tipo de procesos estratégicos

2. Gestión por Objetivos tradicional vs Gestión HOSHIN KANRI - LEAN

       Gestión por objetivos tradicional. Problemas principales
      Objetivos muy dispares, incluso contrapuestos, entre diferentes departamentos
      Lo que para un departamento puede ser fácil de conseguir, para otro puede ser casi imposible
      Promueve los objetivos individuales, incluso la competencia entre departamentos para cumplir los objetivos propios, sin que pensar en el efecto que puede ocurrir a nivel de Compañía
      Promueve discusiones fuertes entre jefes de menor jerarquía y sus colaboradores
      Hay relaciones confusas entre fines y medios
      La utilización de un único sistema de medición dificulta el despliegue de objetivos
      No se adapta fácilmente a los cambios
      No hay un método claro para aprender de los errores

      Gestión HOSHIN KANRI
      El proceso de realimentación hacia arriba ( incluidos fines y medios )permite llegar a conclusiones muy consensuadas
      Los planes son fáciles de gestionar
      Se evalúan no solo los resultados sino también la forma, el proceso para llegar a ellos
      Promueve cambiar la gestión por objetivos por la gestión de los procesos que llevan a esos objetivos: si el resultado no es el esperado, se busca mejorarlo a través del proceso que llevó a él
      Las mejoras se abordan por equipos multidisciplinares
      Se pone a trabajar a estos equipos multidisciplinares contra parámetros de valor añadido de Cliente final
      El Equipo Multidisciplinar triunfa o fracasa en bloque
      Hay pocos indicadores en liza, pero son claves para añadir más valor a los procesos definidos como estratégicos



3. Cómo llegar a construir la Matriz X del HOSHIN KANRI








La adaptación/planteamiento del HOSHIN KANRI a cada caso concreto puede y debe ser resuelto en una o dos sesiones de brainstorming


Que disfrutéis cada hora del fin de semana

Un cordial saludo
Alvaro Ballesteros

Mensajes amables de fin de semana: si estás en un agujero negro, no te rindas ( Stephen Hawking )


Estimad@s Clientes y/o amantes del LEAN:

En una conferencia celebrada en Suecia a mediados del pasado mes de Agosto, el científico Stephen Hawking impactó a la comunidad científica: "Si estás en un agujero negro, no te rindas", afirmó. 

Los físicos han estado discutiendo durante 40 años sobre lo que sucede con el estado de los objetos una vez que caen ahí. La mecánica cuántica dice que esta información no puede ser destruida, pero la relatividad general dice que sí. Esta teoría se conoce como la paradoja de la información
Hawking afirma que en primer lugar, esta información nunca ingresa al agujero negro: "La información no se almacena en el interior del agujero negro como creemos, se queda en su límite, en el horizonte de sucesos", señaló. 

El físico añade que esta información se mantiene en su borde u horizonte reflejados en una suerte de holograma, con datos que se quedan ahí sin ser eliminados. 

http://www.latercera.com/noticia/tendencias/2015/08/659-644442-9-stephen-hawking-y-su-nueva-teoria-si-estas-en-un-agujero-negro-no-te-rindas.shtml


Una paradoja

Los agujeros negros, como todo lo demás, deben mantener un registro de la mecánica cuántica de su formación. Puede surgir un agujero negro, por ejemplo, de la muerte de una gran estrella que se quedó sin combustible para la fusión nuclear y colapsó bajo su propia gravedad. De acuerdo con la mecánica cuántica, el agujero negro debe almacenar la información sobre la estrella que le dio origen, así como cualquier materia que haya caído desde entonces. Pero si el agujero negro alguna vez se evapora, parecería que la información sería destruida.

Los físicos han tratado de encontrar una manera para que la información se escape de la desaparición del agujero negro a través de la radiación de Hawking. El problema con este escenario, sin embargo, es que los agujeros negros parecen no tener forma de difundir información a esta radiación. Los agujeros negros, de hecho, son objetos muy simples de acuerdo con la teoría de la relatividad general, que primero predijo su existencia. Solo tienen tres propiedades: masa, carga y momento angular; más allá de esas variables, no tienen características, no hay otros detalles; en la lengua vernácula de los físicos, se dice que “no tienen pelo”.

Hawking dio a conocer una posible “respuesta” a la paradoja de la pérdida de información —una forma de lograr que los agujeros negros tengan “pelo”— durante una presentación realizada en el Instituto Real de Tecnología KTH, de Estocolmo, el 25 de agosto: “Propongo que la información no se almacena en el interior del agujero negro como uno podría esperar, si no en su límite, el ‘horizonte de sucesos’”, dijo. El horizonte de sucesos es la frontera teórica de un agujero negro, un punto esférico “sin retorno” para la materia entrante. Hawking sugirió además que la información reside en las llamadas “super traducciones” en el horizonte de sucesos, que son huellas que podrían causar un cambio en la posición o en el momento de las partículas que se emiten a través de la radiación de Hawking.

Estas super traducciones estarían formadas por las partículas de la estrella muerta y cualquier materia que cayó en el agujero negro cuando cruzó por primera vez el horizonte de sucesos. Hawking admitió que la información no sería fácilmente recuperable, pero sostuvo que al menos no sería destruida, resolviendo así la paradoja. “La información sobre las partículas entrantes se devuelve, pero en una forma caótica inútil”, dijo. “Para todos los efectos prácticos, la información se pierde”.


Un holograma de la materia

De cierta forma, la solución de Hawking a la paradoja de la pérdida de la información señala que está ocurriendo una cosa, pero da la impresión de que está pasando otra.

La información no está pasando a través del agujero negro, sino que se está almacenando como una "supertraducción" en lo que se conoce como "horizonte de eventos".

Los hoyos negros no son objetos parecidos a las pelotas, pero si los imaginamos así, podríamos describir al horizonte de eventos como su superficie y a la supertraducción como una especie de imagen que las partículas que pasan pintan en la superficie.

"La idea es que las supertraducciones son un holograma de las partículas que entran", dijo Hawking. "Por ende, contienen toda la información que se perdería de otra forma".


El agujero negro podría ser un pasaje a otro universo

En la conferencia en Estocolmo, Hawking también ofreció ideas convincentes acerca de dónde pueden terminar finalmente las cosas que caen en un agujero negro, señalando que “el agujero podría ser un pasaje a otro universo, pero lo que pasa por ahí no podría volver a nuestro universo”.


El agujero negro supermasivo del centro de la galaxia podría ser un agujero de gusano encubierto

Uno de los objetos más extraordinarios de nuestra galaxia, la Vía Láctea, es sin lugar a duda Sagitario A*. Este pequeño objeto, que está situado en la constelación de Sagitario, fue descubierto en 1974 y se sabe que es una fuente brillante de ondas de radio.

Desde entonces, los astrónomos han llevado a cabo numerosas observaciones de Sagitario A* y de las estrellas cercanas, algunas de las cuales orbitan a una velocidad muy alta. Esto implica que Sagitario A* es extremadamente masivo, y ya que es tan pequeño, debe ser también extremamente denso.


Es por eso que los astrónomos creen que este objeto es un agujero negro supermasivo que yace en el centro de la galaxia. De hecho, Sagitario A* es aproximadamente 4 millones de veces más masivo que el Sol, todo en un volumen no mucho más grande que la órbita de Mercurio.


Representación artística de los agujeros gusano



Los agujeros de gusanos se los describe como una topología hipotética del espacio-tiempo en física y, básicamente son una especie de atajo o un puente que conecta dos puntos del espacio-tiempo.

Pero hay otra explicación: este objeto súper denso y masivo podría ser un agujero de gusano que conecta nuestra región del espacio a otro punto del Universo, o incluso a otra parte del multiverso. 

Los astrofísicos han sabido desde hace mucho tiempo que los agujeros de gusano están permitidos por las leyes de la relatividad general y que se podían haber formado poco después del Big Bang.

Para consultar más información sobre lo que es un Agujero negro:


Que disfrutéis cada hora del fin de semana
Un cordial saludo
Alvaro Ballesteros

sábado, 10 de octubre de 2015

Mensajes amables de fin de semana: el mejor medicamento eres tú (II)


Estimad@s Clientes y/o amantes del LEAN:

La semana pasada dediqué un escrito al libro “El mejor medicamento eres tú”, del doctor Saldmann

Tiene tantas recomendaciones sencillas y sin medicamentos, que merece la pena que le dedique una segunda parte


Temas adicionales a los mencionados en el escrito precedente:

1. La clara de huevo, ideal para engañar el hambre. La estrella de los inhibidores de apetito de origen proteico es, sin duda alguna, la clara de huevo. Con solo 44 calorías por cada cien gramos, la clara de huevo provoca una excelente sensación de saciedad. No contiene grasa y tiene cero colesterol

2. Los misterios de la guindilla. Resultado de comer una guindilla: una sed difícil de calmar y, sobre todo, una sensación muy fuerte de calor con una transpiración intensa. Al observar este fenómeno, unos investigadores americanos se preguntaron si la guindilla quema grasas. El estudio demostró un aumento de la termogénesis ( temperatura ) después de la comida, así como un aumento de la oxidación de las grasas

3. La pimienta ha demostrado ser un aliado interesante para adelgazar, ya que atesora varias propiedades. Permite reducir el apetito y facilita la digestión, reduciendo las flatulencias. Parece ser que actúa quemando grasas e inhibiendo la adipogénesis ( formación de grasas de reserva )

4. La actividad física regular es ante todo eficaz para prevenir enfermedades cardiovasculares. Al ir acostumbrando al corazón a trabajar con frecuencias más elevadas, se favorece una disminución de la frecuencia cardiaca en reposo

Un equipo de investigadores alemanes acaba de realizar un experimento apasionante. Los niños que han crecido en una granja desarrollan muchas menos alergias que los niños de las ciudades, con una reducción del 51% en el riesgo de asma y del 76% en el riesgo de alergia en general

5. Cambiar la almohada regularmente es importante porque al cabo de dos años el 10% de su peso corresponde a ácaros muertos o a sus deyecciones

6. Limpiar la nevera dos veces al mes es elemental a causa del riesgo de desarrollo microbiano ( como la temible Listeria ) que se desarrolla justamente en atmósferas frías y húmedas a cuatro grados

7. La toalla debe estar seca antes de usarla. I todavía está húmeda, tiradla sin vacilar al cesto de la ropa sucia, porque una toalla húmeda es un perfecto medio de cultivo para que se desarrollen microbios. En veinticuatro horas tienen tiempo suficiente para multiplicarse

8. Las amígdalas intervienen en la defensa inmunitaria. Son un puesto avanzado para combatir microbios

9. El apéndice interviene como reserva de bacterias buenas, capaces de recolonizar el intestino después de diarreas importantes, y también de contribuir a la producción de células inmunocompetentes para protegernos de las enfermedades

10. Los investigadores han descubierto que haciendo mirar a un grupo de personas durante diez minutos fotos desagradables de personas enfermas, las defensas inmunitarias de los sujetos se incrementaban: habían producido un aumento de un 25% de citoquinas, que son elementos que intervienen en la calidad de la respuesta inmunitaria

11. Masajear las encías es la base natural para tener una buena dentadura

12. Existe un gesto sencillo que se puede hacer para destapar la nariz. Basta apretar fuerte, durante treinta segundos, con el pulgar entre las dos cejas y al mismo tiempo apoyar con firmeza la lengua contra el paladar. Desde el punto de vista anatómico, se estimulan así unos nervios simpáticos específicos ( algunos situados en el ganglio esfenopalatino ) y éstos reaccionan provocando una vasoconstricción nasal que destapa la nariz

13. La sequedad de los ojos es algo que hay que tratar. Los ojos se lubrican gracias a las glándulas de Meibomio situadas en los párpados, cuya misión es segregar una sustancia aceitosa que protege el ojo de las agresiones externas. Con el tiempo ese aceite se vuelve más denso y le cuesta salir de las glándulas, lo cual provoca sequedad ocular. Para aliviar vuestros ojos existe un método simple y eficaz que se basa en dos principios clave: calentar y masajear los párpados para permitir que el aceite se vuelva más fluido y pueda salir

14. ¡Qué tiene de más las personas felices?
                -Las circunstancias externas, y entre ellas el éxito material, les afectan poco
-Son conscientes de que la vida está sembrada de dificultades y las integran en el ciclo de su existencia
-Están de acuerdo consigo mismas, tanto en su vida profesional como en su vida amorosa, familiar o social
                -Cuidan su cuerpo y su mente como bienes muy preciados
                -No buscan la aprobación permanente en la mirada de los demás
                -Están en contacto permanente con su familia, sus amigos y sus vecinos
                -Practican la benevolencia, la gratitud y se abstienen de juzgar
                -Tienen una vida interior rica: reflexión, espiritualidad, religión, …
                -Saben lo que quieren y tienen un objetivo en la vida bien definido
                -Pero sobre todo viven anclados en el presente, sin darle vueltas al pasado y sin angustiarse ni fantasear respecto al futuro  


Temas mencionados en el mail anterior
  1. “Como la actividad física quema azúcar y grasas, los niveles de azúcar y colesterol malo en la sangre bajarán, reduciendo las placas de arterioesclerosis que van obstruyendo las arterias y son causa de los accidentes vasculares cerebrales con riesgo de hemiplejía, infarto de miocardio y artritis de los miembros inferiores. Se ha demostrado que practicar una actividad física con regularidad reduce un 60% la predisposición a la diabetes tipo 2. Por último, la demanda de aumento del caudal cardiaco tiene otro efecto positivo para la bomba que es el corazón. Al lado de las arterias coronarias, que tienen la misión de irrigar bien el corazón se irán formando pequeños vasos para mejorar el flujo sanguíneo. Es un verdadero circuito paralelo el que se desarrolla, constituyendo así una especie de grupo electrógeno de emergencia cuya presencia será fundamental en el caso de que se produzca una oclusión en una de las “tuberías principales”. El corazón regularmente entrenado se cansa menos, es más eficaz y se protege mejor de los riesgos de infarto de miocardio”
Comentario mío: reducción de riesgos de hemiplejía, infarto y artritis… sin medicamentos….con la guinda de la sa creación de ese  “grupo electrógeno de emergencia” que sería imposible si solo abordamos el problema con medicamentos

  1. “Un grupo de científicos británicos acaba de demostrar los efectos sorprendentes del zumo de cereza para conciliar el sueño. Actúa aumentando el nivel de melatonina segregada durante la noche. El kiwi también tiene efectos beneficiosos. Por mi parte, prefiero mucho más un cóctel de kiwi y zumo de cereza para pasar una buena noche que los somníferos, que producen un sueño de mala calidad con un despertar pastoso“

  1. El método que ha descubierto un tal profesor Odeh para quitar los hipos recalcitrantes es bastante impactante…..no me atrevo a explicar los detalles….prefiero que lo descubráis vosotros mismos

  1. “Investigadores neerlandeses propusieron a unos voluntarios oler y tragar treinta gramos de chocolate negro. Observaron una reducción importante del apetito tras esta ingesta, pro sobre todo que provocaba una fuerte reducción de la ghrelina. La ghrelina es una hormona conocida por su papel en el desencadenamiento del apetito”

  1. “La guindilla quema grasas. Puede estimular el gasto energético y acelerar el metabolismo”

  1. “Existe un gesto sencillo que puede hacerse para destapar la nariz. Basta apretar fuerte durante treinta segundos con el pulgar entre las dos cejas y al mismo tiempo apoyar con firmeza la lengua contra el paladar. El efecto es inmediato y provoca una sensación de confort nasal muy agradable. Desde el punto de vista anatómico, se estimulan así unos nervios simpáticos específicos y éstos provocan una vasoconstricción nasal que destapa la nariz”

  1. “Comer pescado te hace inteligente y es bueno para la memoria. L profesor Cyrus Raji siguió durante diez años a doscientos sesenta adulto. Los separó en dos grupos. El primero consumía pescado varias veces ppor semana y el segundo no comía pescado nunca. El resultado fue que entre los que consumían pescado se mantuvo durante diez años la sustancia gris del cerebro en varias áreas cerebrales y sobre todo en una parte clave del cerebro, el hipocampo, que tiene una función esencial para la memoria. Por lo general la sustancia gris y el hipocampo reducen progresivamente su volumen con los años, pero esto no ocurre en las personas que comen pescado”  

Que disfrutéis cada hora del fin de semana

Un cordial saludo
Alvaro Ballesteros

sábado, 3 de octubre de 2015

Entender bien las claves de este VSM puede cambiar tu visión de los Procesos clave de tu Negocio para siempre, sea el Negocio que sea


Estimad@s Clientes y/o amantes del LEAN:

NOTA IMPORTANTE:
Sea uno Director General, Director de Departamento o empleado, MOD o MOI, de RRHH o de Producción, de Compras o de IT, de Marketing/Comercial  o de Mantenimiento/Reparaciones, esté uno trabajando en una Empresa Industrial o en un Banco, en un Hospital o en un Hotel, en una Empresa de Seguros o en una de Servicios, vendiendo productos y/servicios bajo pedido o contra stock….
Para todos esos perfiles, me voy a permitir recomendar de manera entusiasta la conveniencia de aprender de memoria el VSM al que hacemos referencia en párrafos más abajo, porque si uno lo entiende en toda su extensión, su visión de los Procesos Clave de su Negocio cambiará radicalmente y para siempre
Ver todo el Negocio completo en un A3, traducido a la dimensión tiempo de Valor vs No Valor, darse cuenta de los enormes gaps de tiempo que hay entre operaciones de Valor Añadido, ver cómo se puede reducir nuestro lead time a la quinta parte, todo eso impacta profundamente tanto a los que levantan el VSM como al resto de la Organización

La tabla siguiente resume el antes y después del ejercicio VSM LEAN de esta Empresa: ¡!reducimos nuestro lead time de 23,6 días a 4,5 días!! 

Para los nuevos en esto, decir que para usar esta herramienta no es necesario ser un experto en Excel, ni en sistemas estadísticos, ni se necesitan saber integrales triples: simplemente, lápiz y papel, sí, lápiz y no ordenador, para no liarnos con los símbolos/gráficos y centrarnos únicamente en la identificación de los despilfarros de nuestros Procesos Clave de Negocio
Para los más expertos, recomiendo centrarse en las acciones que hay detrás del paso de la segunda fila de la tabla anterior a la tercera, aplicando conceptos de HEIJUNKA, PITCH, BOX de Nivelación HEIJUNKA, etc.
Este paso avanzado nos permitirá, aparte de sincronizarnos más profundamente con la verdadera demanda de nuestro Cliente, reducir nuevamente nuestro lead time a la mitad, de 8 a 4,5 días
¡!Feliz lectura!!
 

Consideraciones previas
Lo primero que hay que decir es que este escrito es continuación de nuestra comunicación del fin de semana pasado
El caso está sacado del libro “Learning to See”, de Rother y Shook
Aprovecho para recomendaros entusiásticamente su lectura…!! Es la Biblia de la herramienta VSM”!! : la crearon Rother y Shook en total sintonía y complicidad con los autores de la otra Biblia, la del LEAN, el libro titulado “LEAN THINKING”, escrito por Womack&Jones, del MIT
Esta documentación ha sido generada por el LEAN INSTITUTE

Caso de estudio
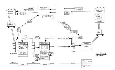
ACME hace referencias izquierdas y derechas, de unos brackets empleados en el automóvil
La demanda media de piezas es:
-18.400 piezas/mes       
                12.000 izquierdos
6.400 derechos
Los procesos de ACME son : un proceso de Prensa, dos de soldadura y dos de montaje
En el “antes”, todos los procesos están desconectados, rodeados por unos hermosos stocks

Los datos más relevantes del “antes” son :
-Tiempo de cambio de la Prensa: 1 h
-Rotaciones en la Prensa: cada quince días ( es lo que se indica en los datos de la Prensa como EPE: every part every à 2 weeks )
-Stock entre Prensa y Soldadura: 7,6 días
-Stock entre soldadura 1 y 2 : 1,8 días
-Stock entre soldadura 2 y montaje 1 : 2,7 días
-Stock entre montaje 1 y 2 : 2 días
-Stock en Almacén de Producto Terminado : 4,5 días

El VSM de la situación de partida es como sigue:


Las soluciones LEAN aplicadas son:
-Reducción de tiempo de cambio de la Prensa: ahora se hace un cambio en menos de 10 min
-El SMED de la Prensa se ha utilizado para pasar de rotaciones quincenales a rotaciones por turno
-Aumento de OEE en soldadura 2, para que pueda conectarse en la célula sin pérdidas de OEE global
-Célula para conectar en flujo las dos soldaduras y los dos montajes
-Tiempo de cambio en la célula ( para pasar de referencia izquierda a derecha y viceversa ) célula: cero
-El truco principal para conseguir lo anterior ha sido poner pequeños contenedores a pie de línea, para que estén a mano de los operarios de montaje las piezas de ambas referencias
-Mejora continua en célula para poder pasar de 4 operarios a 3 ( dado que el cuarto operario tenía gran insaturación )
-Crear un Pull desde los procesos finales hasta los de cabecera, lo que implica que lo único que se programa es el proceso final ( se dejan de lanzar órdenes contra los procesos de cabecera )
-Milk run para la entrega de Materia Prima a ACME

Las mejoras de lead time ( y, por lo tanto, de stocks ) que hemos conseguido hasta ahora son las siguientes: 


¡!Hemos bajado de un lead time de 23,6 días a otro de 8 días!!

Pero aún hay cosas importantes que hacer para seguir eliminando despilfarros:

Todo pasa por mejorar aún la forma en cómo recibimos la información por parte del cliente y cómo usamos esa cadencia del Cliente para optimizar más aún nuestra Cadena de Valor Integrada LEAN

Por penetrar un poco más en este aspecto, vemos que el Cliente se lleva el producto en unas bandejas de 20 unidades, con un mix de 2 izquierdas + 1 derecho

El secreto está en cómo sincronizar nuestra célula ( no nos olvidemos que, debido al Pull implantado, solo programamos la célula ) con esa cadencia de la demanda

Lo ideal es que nosotros produjéramos en la célula con ese mix de 2:1 ( dos bandejas de izquierdas, después una de derechas )

Esto es la base de la herramienta LEAN llamada HEIJUNKA. Haremos un pequeño paréntesis para resaltar una vez más que esta herramienta era una de las más queridas por los creadores del LEAN: de hecho, decían que sin HEIJUNKA la magia del LEAN desaparecía

Recapitulando, decidimos abordar una segunda fase de mejoras basada en los siguientes aspectos clave:
-Hacer una nivelación HEIJUNKA desde el PITCH del Cliente ( 1 bandeja cada 20 min, con un mix de 2:1 ) hasta nuestro Almacén de Producto Terminado; desde éste a la célula, repetición de la jugada. Graficamos este concepto, con simbología del VSM:


El box de Nivelación HEIJUNKA, con un Pitch de 20 min, quedaría como sigue:


El símbolo de más abajo, OXOX, es clave en este concepto de HEIJUNKA, y significa que hay que nivelar los batches de kanban que vienen del Cliente, hacer producción mezclada en suma, para hacer la secuencia que luego se mandará a la célula como programa de producción 


Recordemos que este Pitch corresponde a un kanban ( una bandeja ) de 20 brackets : esto se traduce en que cada 20min, le llega un kanban a la célula, con la secuencia en que se han metido en el HEIJUNKA Box

El punto PULL que se programa, en nuestro caso la célula final, se llama en la terminología LEAN el PACEMAKER ( Marcapasos ) . Se llama así porque este punto marcará el paso de todo el flujo productivo “aguas arriba”. Ni que decir tiene, en esta filosofía PULL trataremos que el PACEMAKER esté lo más “aguas abajo” posible

Además, del PACEMAKER hacia abajo no permitiremos rupturas de flujo, ni siquiera Supermercados



Ni que decir tiene que la producción mezclada en la célula obliga a muchos más cambios en la propia célula ( no hay problema, pues hemos conseguido tiempo de cambio cero ) pero nivela mucho mejor todo el proceso productivo “aguas arriba” y  reduce drásticamente los lead times y los stocks en curso del proceso global
También hay que decir que este Pull es posible porque la Prensa tiene ahora tiempos de cambio inferiores a 10 minutos
El VSM del proceso rediseñado es como sigue:


Con el HEIJUNKA ( la nivelación, en castellano ) ….¡!Hemos vuelto a reducir el lead time a la mitad, de 8 a 4 días!!

El resultado global solo se puede calificar de impresionante :
¡!Hemos bajado de un lead time (y, por lo tanto, de stocks) de 23,6 días a otro de 4,5 días!!

Nota. En este caso de estudio solo se habla de la mejora de lead time y de stocks, pero ni que decir tiene que las mejoras de productividad de la MOD, de costes de No Calidad y de superficie ocupada son también muy significativas  

Que disfrutéis cada hora del fin de semana

Un cordial saludo
Alvaro Ballesteros

Si alguno de los procesos "aguas arriba" es inflexible, simplemente el PULL LEAN no funcionará


Estimad@s Clientes y/o amantes del LEAN:

Todo el mundo conoce el VSM como método de levantar procesos
En este escrito me gustaría resaltar resultados típicos que se pueden ver en casos documentados en la red ( por razones obvias, no puedo poner datos de nuestros clientes )

Vamos a hacer unas pequeñas reflexiones sobre un ejemplo que aparece en el libro “Learning to See”, de Rother y Shook


Resultado:
El lead time del proceso es 23,6 días
El tiempo de Valor Añadido es 188 seg.
Fijémonos que en el proceso estampación, la Prensa rota cada 2 semanas : es lo que, en  terminología del VSM, se documenta en el gráfico como EPE: 2 weeks
Otros parámetros de partida de la Prensa son :
1 pieza/seg.
Tiempo de cambio : 1 hora
Uptime: 85%

El VSM futuro es como sigue:


Lead time : 4,5 días
Tiempo de V.A.: 169 seg.

Conclusiones más evidentes:
Tiempo de Valor Añadido del antes y después:  188 seg. vs 169 seg. : no hay mucha diferencia; de hecho, no sería muy LEAN enfocarse en querer arañar segundos por aquí
El enfoque LEAN nos propone que tratemos, con prioridad número 1, de acortar los enormes periodos de tiempo en que, simplemente, las piezas están paradas esperando por algo

Si solamente nos fijamos en el ratio tiempo de Valor Añadido vs No Valor Añadido, los números son los siguientes:
En el antes, añadimos valor el 0,00009% del tiempo
En el después, añadimos valor el 0,0004% del tiempo, dato que tampoco parece muy allá

Pero hay una diferencia fundamental: 
Lead time del antes : 23,6 días
Lead time del después : 4,5 días
¡! Hemos reducido nuestro lead time a la quinta parte ¡!

Eso sí puede traducirse en un arma estratégica poderosísima, porque probablemente nuestros competidores estarán muy preocupados por la brusca aparición en el mercado de unos plazos de entrega tan cortos

Las claves de esta transformación LEAN, en este caso, han sido las siguientes:
-Conexión entre procesos de Valor Añadido ( esto merece un escrito aparte )
-Flexibilidad en todos los procesos “aguas arriba”
-En el caso concreto de la Prensa, los datos concretos del antes y después son los siguientes :
-El tiempo de cambio ha pasado de ser de 1 hora en el punto de partida a ser SMED puro, esto es inferior a 10 min.
-Han pasado de rotarse todas las referencias cada 15 días a rotarse cada turno
-La flexibilidad y la conexión entre procesos de Valor Añadido permite pasar de una planificación PUSH a otra PULL

Me gustaría que nos fijemos en este último aspecto:
-En el VSM de partida, vemos que el sistema de control de producción lanza órdenes a todos los centros, desde el primero hasta el último
-En el VSM final, el Sistema solo lanza órdenes contra el proceso final : de ahí para atrás un método PULL se encarga de generar autónomamente órdenes “aguas arriba”, sin necesidad de ninguna gestión por parte del módulo del ERP encargado de las tareas de planificación y programación
-Lo bueno de este sistema es que se pide a los procesos de cabecera que hagan solamente “lo que se necesita, cuando se necesita y con la calidad que se necesita”.. ¿os suena eso? : es una de las frases más emblemáticas que lanzaron los creadores del Toyota Production System para explicar el corazón del nuevo paradigma
-Lo que también es verdad es que , para conseguir esto, debemos haber rediseñado los procesos “aguas arriba” para que sean capaces de entregar sus semielaborados con lead times cortos ( es decir, deben tener un alto grado de flexibilidad ) y fiables
-Si se cumplen todas esas premisas, estaremos en disposición de tener esa revolución en nuestros plazos de entrega

Mensaje último que me gustaría transmitir con este escrito : Si alguno de los procesos “aguas arriba” es inflexible, simplemente todo se caerá como un castillo de naipes


Que disfrutéis cada hora del fin de semana

Un cordial saludo
Alvaro Ballesteros 

Mensajes amables de fin de semana: el mejor medicamento eres tú


Estimad@s Clientes y/o amantes del LEAN:


Este libro , “El mejor medicamento eres tú”, ha sido un éxito editorial en Francia, sin precedentes en este tipo de temas



Está escrito por el doctor Fréderic Saldmann, cardiólogo, nutricionista y especialista en higiene en el hospital Georges Pompidou de París. Destaco sus tres especialidades porque entiendo que de corazón, alimentos e higiene debe saber mucho

El Prefacio es toda una declaración de intenciones
Habla sobre todo de cómo sustituir medicinas, que no tratan las causas, por simples cambios de hábitos y/o activación de mecanismos/soluciones que los médicos de familia conocen desde hace mucho tiempo……….y todo ello aún a riesgo, como dice el Dr Saldmann, de quedarse un día sin empleo

El libro trata infinidad de temas, las soluciones os sorprenderán en muchos casos; todo ello hace que se lea de corrido
Algunos ejemplos:
1.       “Como la actividad física quema azúcar y grasas, los niveles de azúcar y colesterol malo en la sangre bajarán, reduciendo las placas de arterioesclerosis que van obstruyendo las arterias y son causa de los accidentes vasculares cerebrales con riesgo de hemiplejía, infarto de miocardio y artritis de los miembros inferiores. Se ha demostrado que practicar una actividad física con regularidad reduce un 60% la predisposición a la diabetes tipo 2. Por último, la demanda de aumento del caudal cardiaco tiene otro efecto positivo para la bomba que es el corazón. Al lado de las arterias coronarias, que tienen la misión de irrigar bien el corazón se irán formando pequeños vasos para mejorar el flujo sanguíneo. Es un verdadero circuito paralelo el que se desarrolla, constituyendo así una especie de grupo electrógeno de emergencia cuya presencia será fundamental en el caso de que se produzca una oclusión en una de las “tuberías principales”. El corazón regularmente entrenado se cansa menos, es más eficaz y se protege mejor de los riesgos de infarto de miocardio”
Comentario mío: reducción de riesgos de hemiplejía, infarto y artritis… sin medicamentos….con la guinda de la sa creación de ese  “grupo electrógeno de emergencia” que sería imposible si solo abordamos el problema con medicamentos

2.       “Un grupo de científicos británicos acaba de demostrar los efectos sorprendentes del zumo de cereza para conciliar el sueño. Actúa aumentando el nivel de melatonina segregada durante la noche. El kiwi también tiene efectos beneficiosos. Por mi parte, prefiero mucho más un cóctel de kiwi y zumo de cereza para pasar una buena noche que los somníferos, que producen un sueño de mala calidad con un despertar pastoso“

3.       El método que ha descubierto un tal profesor Odeh para quitar los hipos recalcitrantes es bastante impactante…..no me atrevo a explicar los detalles….prefiero que lo descubráis vosotros mismos

4.       “Investigadores neerlandeses propusieron a unos voluntarios oler y tragar treinta gramos de chocolate negro. Observaron una reducción importante del apetito tras esta ingesta, pro sobre todo que provocaba una fuerte reducción de la ghrelina. La ghrelina es una hormona conocida por su papel en el desencadenamiento del apetito”

5.       “La guindilla quema grasas. Puede estimular el gasto energético y acelerar el metabolismo”

6.       “Existe un gesto sencillo que puede hacerse para destapar la nariz. Basta apretar fuerte durante treinta segundos con el pulgar entre las dos cejas y al mismo tiempo apoyar con firmeza la lengua contra el paladar. El efecto es inmediato y provoca una sensación de confort nasal muy agradable. Desde el punto de vista anatómico, se estimulan así unos nervios simpáticos específicos y éstos provocan una vasoconstricción nasal que destapa la nariz”

7.       “Comer pescado te hace inteligente y es bueno para la memoria. L profesor Cyrus Raji siguió durante diez años a doscientos sesenta adulto. Los separó en dos grupos. El primero consumía pescado varias veces ppor semana y el segundo no comía pescado nunca. El resultado fue que entre los que consumían pescado se mantuvo durante diez años la sustancia gris del cerebro en varias áreas cerebrales y sobre todo en una parte clave del cerebro, el hipocampo, que tiene una función esencial para la memoria. Por lo general la sustancia gris y el hipocampo reducen progresivamente su volumen con los años, pero esto no ocurre en las personas que comen pescado”  


Para que veáis la amplitud de temas que abarca, reproduciré el índice:
1.       Combatir eficazmente el exceso de peso
a.       Los inhibidores del apetito que combinan el placer con la eficacia
                                                               i.      Las virtudes del chocolate negro cien por cien
                                                             ii.      Los misteriosos poderes de azafrán
                                                            iii.      Hidratarse bien
                                                           iv.      El reloj, un gendarme natural
                                                             v.      La clara de huevo, ideal para engañar el hambre
b.      Los misterios de la guindilla y la pimienta
c.       Los postres que adelgazan
d.      El placer de regular el propio peso
2.       Dinamizar el organismo
a.       Los beneficios de la actividad física
b.      Ayunar..para mantenerse joven
3.       Mejorar el sueño
a.       Ayudas para conciliar el sueño
b.      Levantarse con buen pie
c.       Los enemigos del sueño: el ronquido y la apnea   
4.       Desembarazarse de las molestias más frecuntes: los problemas del tránsito intestinal, las alergias, etc.
a.       Los medicamentos son útiles cando reamente es necesario tomarlos
b.      Los trstornos gastroenterológicos
c.       Las alergias
5.       Luchar contra las enfermedades infecciosas y proteger a los hijos
a.       La higiene diaria: ni demasiado ni demasiado poco
b.      ¿Demasiada higiene mata la higiene?
c.       Los besos vacuna
d.      Proteger a los hijos
e.      Unos órganos que no son tan inútiles como parece
                                                               i.      Las amígdalas
                                                             ii.      El apéndice
                                                            iii.      El poder sutil del vello
f.        La mirada que cura
6.       Conocer los gestos que curan y que alivian
a.       Gestionar las situaciones de urgencia
                                                               i.      El paro cardiaco y las patologías del corazón
                                                             ii.      Irse por el otro lado
                                                            iii.      Detener un sangrado o una hemorragia
b.      Cuidar la esfera otorrinolaringológica
                                                               i.      Masajear las encías es la base natural para tener una buena dentadura
                                                             ii.      Destaparse la nariz
                                                            iii.      Luchar contra los ojos secos
c.       Tratar los problemas del día a día
                                                               i.      El hipo
                                                             ii.      Dolor en el costado: apretar donde duele
                                                            iii.      Saber escupir
                                                           iv.      El mareo
                                                             v.      De la aerofagia a la indigestión solo hay un paso
                                                           vi.      Hacer desaparecer los calambres
                                                          vii.      Tratar la eyaculación precoz
7.       Alcanzar la plenitud sexual
a.       Recuperar la libido
                                                               i.      Hacerse las pregunta adecuadas
                                                             ii.      La alimentación
                                                            iii.      Los pistachos y la erección
                                                           iv.      La granada, siempre la granada….
                                                             v.      La duración ideal de la relación sexual: un estudio revolucionario
b.      Cuando la cosa no funciona
c.       Los secretos del “french kiss”
                                                               i.      La bioquímica del beso: la alquimia del bienestar
                                                             ii.      El beso y los masajes: un antiestrés eficaz
d.      Aumentar el poder de seducción
                                                               i.      L poder de la mirada: los cuatro minutos fatídicos
                                                             ii.      Atreveos a descubrir vuestra verdadera orientación sexual
                                                            iii.      El verdadero poder de las lágrimas
                                                           iv.      El arte de la persuasión
8.       Eliminar el estrés y la depre
a.       ¡Alto al estrés!
                                                               i.      Basta una puesta a punto
b.      Los medios físicos
                                                               i.      El tacto
                                                             ii.      L masaje
                                                            iii.      La sonrisa protectora
c.       Aprender a liberarse mentalmente
                                                               i.      Acallar nuestro gendarme mental
                                                             ii.      Enfrentarse a la realidad para romper las cadenas
                                                            iii.      Las defensas
                                                           iv.      La transferencia
d.      Evitar la depre
                                                               i.      Cultivar la felicidad
                                                             ii.      Los equilibrios inestables
                                                            iii.      Parar la película para disfrutar de una escena
                                                           iv.      Dejad de pensar en los aspectos negativos
                                                             v.      Trabajarse la felicidad interior bruta
                                                           vi.      Aceptar los fracasos
e.      Practicar la meditación
9.       Entrenar el cerebro
a.       Modificar la estructura del cerebro
                                                               i.      La reserva cognitiva
                                                             ii.      Vigilar el estado general
                                                            iii.      El aprendizaje y los pensamientos
b.      Regenerar el cerebro
c.       El autocontrol
                                                               i.      El circuito de la voluntad
                                                             ii.      Los ejercicios de autocontrol
d.      Estimular la memoria
                                                               i.      La importancia de la memoria
                                                             ii.      Mejorar las prestaciones
                                                            iii.      Se ha demostrado científicamente que es bueno comer pescado
10.   Magnetismo, clarividencia y curacioes misteriosas
a.       Unos estudios científicos inquietantes
b.      El poder del magnetismo
c.       Los poderes que no comprendemos
d.      El sentido de la observación
e.      El significado del color de la piel
f.        Las curaciones espontáneas   


Por último, unos enlaces interesantes sobre este tema:


Que disfrutéis cada hora del fin de semana

Un cordial saludo
Alvaro Ballesteros